
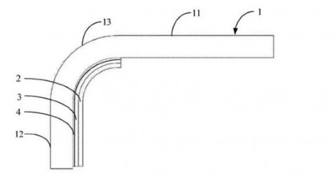
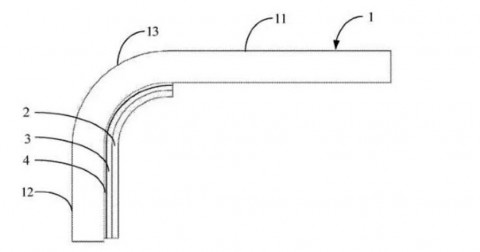
Новая разработка компании объединяет сразу два метода размещения биометрического датчика: под дисплеем и на боковой грани. Главной же особенностью технологии станет использование IPS-матрицы вместо обычно применяемых в таких случаях AMOLED-панелей.

Согласно источнику, сканер отпечатков пальцев предполагается установить на боковой грани устройства под загнутым экраном гаджета, отказавшись от выделенной области на рамке корпуса. При этом в документе упоминается IPS-дисплей — предположительно такая конструкция позволит снизить стоимость смартфона, не отказываясь от премиального дизайна.
Соответствующая заявка была опубликована патентным ведомством США 3 июня 2021 года. Увы, документ не раскрывает каких-либо технических подробностей и особенностей дизайна смартфонов, которые могут оснащаться подобной технологией. Возможная дата анонса первых устройств с оригинальными сканерами отпечатков пока неизвестна.


